本发明公开的双轴线阵相机拍照方法,其用于双轴线阵相机拍照系统,双轴线阵相机拍照系统包括伺服电机、主动轴、从动轴和线阵相机,方法包括提供系数k到双轴线阵相机系统,线阵相机触发行频推导;线阵相机每拍照一行,通过移动,多次拍照后拼接成一张图片。本发明还公开了线阵相机拍照系统、设备及存储介质。通过本发明的技术方案,可根据伺服电机的输出脉冲信号来控制线阵相机行拍照频率,从而使得相机拍照不受速度的影响,在加速、匀速、减速整个过程中,均不会出现图像拉伸、压缩异常等情况,从而改善图像拍摄效果;从动轴随着主动轴移动,可实现线阵相机的移动行程为2倍主动轴的行程,保证图像拍照效果的同时加大拍照范围或区域。






| 附图说明 |
| 为了更清楚地说明本发明实施例,下面将对实施例或现有技术中描述中需要使用的附图做简单说明。 |
| 图1是本发明的双轴线阵相机拍照方法的流程示意图; |
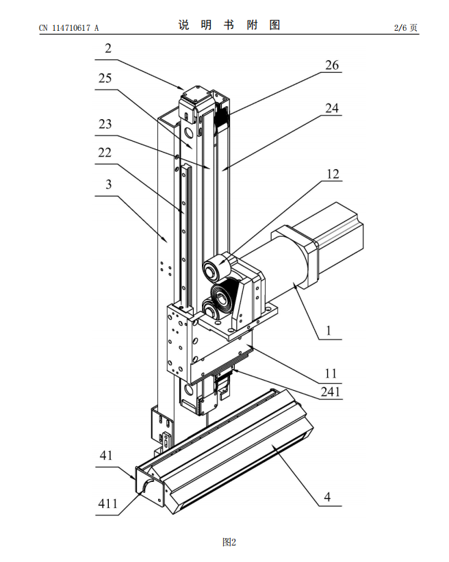
| 图2是本发明的双轴线阵相机拍照系统的原始状态结构示意图; |
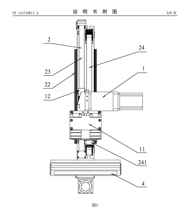
| 图3是本发明的双轴线阵相机拍照系统的俯视结构示意图; |
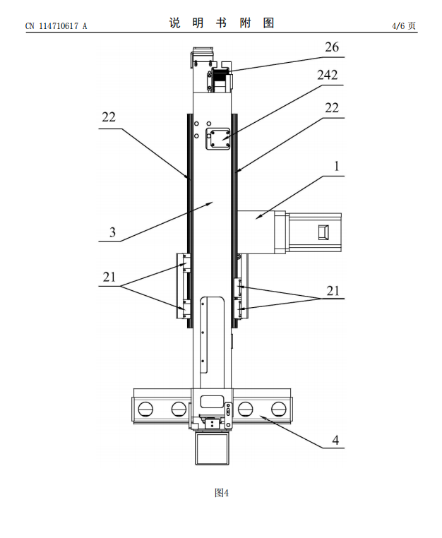
| 图4是本发明的双轴线阵相机拍照系统的仰视结构示意图; |
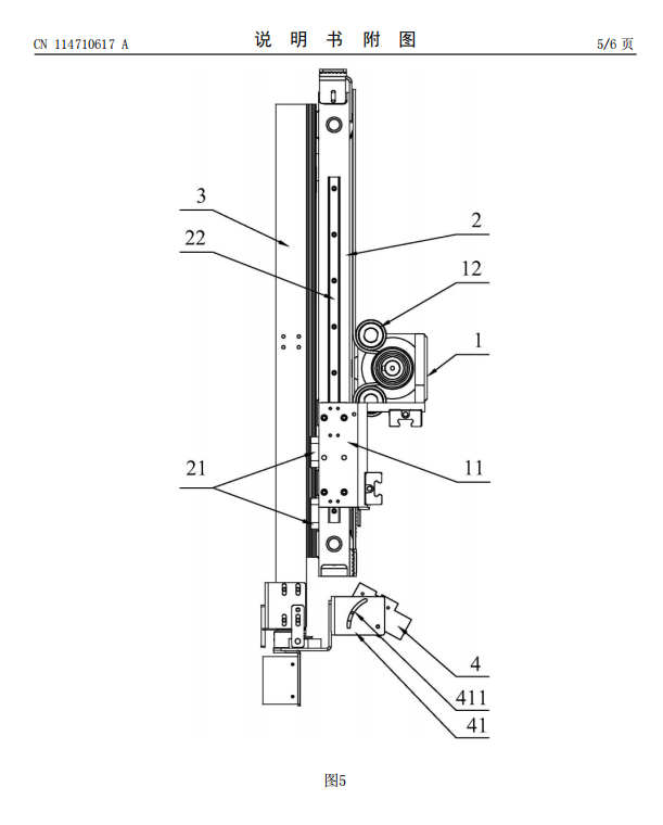
| 图5是本发明的双轴线阵相机拍照系统的侧面结构示意图; |
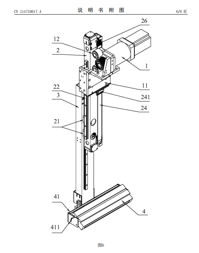
| 图6是本发明的双轴线阵相机拍照系统的展开状态结构示意图。 |